输血器的结构图解
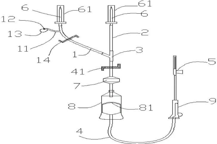
的有关信息介绍如下:概述输血器是建立血液和静脉间通道的输液器械。输血器的结构主要为插瓶针、针头护帽、滴管、管路、流量调节器、大于7号静脉针等。输血器的加药口在已输血后不能用于添加药物或其他血制品。输血用针头一定要超过7号针,避免因针头型号太小而不能输血。结构输血器具有过滤功能,能过滤血液制品微聚体,也可调整血液流速。输血器的结构为插瓶针、进气针或者进气孔、针头护帽、Y型三通管路、滴管、管路、加药口、流量调节器、注射件、大于7号静脉针或者注射针等。

输血器的结构图解使用方法检查输血器封装是否完整、此输血器是否能使用、针头型号是否适合等,确认无误后,拆开封装,插好插瓶针、生理盐水瓶,排气,按静脉输液方法静脉穿刺,注入少量生理盐水,核对血袋内信息和血液是否变质,拆开输血袋护帽并消毒,悬挂输液架,插好输血器可供输血,调整输血速度,输完血液再接通生理盐水,滴注畅通时拔下针头,或者再输入一包血制品。



