天气越来越冷了,您觉得第二波疫情会爆发吗?
的有关信息介绍如下:天气越来越冷了,您觉得第二波疫情会爆发吗?
钟南山院士曾经预测,各国如果积极严控疫情,6月份疫情会过去。
然而,因为各国疫情防控的力度和措施的差异,中国很早就结束了第一波疫情,但是疫情还在全球持续蔓延,照目前全球疫情蔓延的趋势来看,疫情还会持续到今年冬天。
相比炎热的夏天,寒冷潮湿的冬天更利于病毒的蔓延。病毒在低温的天气里,它的复制能力和存活时间都有提高,天气越来越冷,第二波疫情会不会爆发?
第二波疫情并没有在全球大规模爆发,只有些国家出现了第二波疫情,很多国家还处于第一波疫情。中国不会爆发第二波疫情,即使全球真的出现第二波疫情,力度会比第一波小。

冬天是流感高发季节,病毒和流感会让疫情更严重
冬季是呼吸道疾病多发的季节,特别是流感。
如果一个国家,流感和疫情同时在蔓延,那么会导致疫情越来越严重。
病毒能通过人与人之间传播,飞沫和接触传播是比较常见的传播方式,比如:家庭内部或者是公司或校内成员之间的传播,如果群体里有一位感染者,但是没有被及时发现,那么其他成员在接触的过程里,若是没有做好防护措施,那么被感染的可能性会增加。
特别是大型的室内聚集性活动,如果人与人缺乏必要的防护,比如:不戴口罩,就很难起到防护病毒的作用。

疫苗实现群体免疫需要1-2年,今年冬天第二波疫情不会消失
虽然全球有多款疫苗进入了三期临床试验,最快年底疫苗能面市。不过,中国有14亿人口,到今年年末疫苗的产能可达到6.1亿剂,明年产能可达到10亿剂。
想要群体免疫只能靠疫苗,但是全球人口众多,通过打疫苗来实现群体免疫,需要1-2年,甚至更长的时间。今年冬天,疫苗还没有大规模使用,无法阻止第二波疫情的到来。
今年我们除了扩大疫苗的接种人群,比如高风险人群和高危人群等等,还需要通过联防联控来控制疫情,提前布局,做好疫情的应对,包括:海关,学校,医院,社区等部门,最主要的是我们不要忘记最简单,最有效的防护还是戴口罩。

天气越来越冷了,您觉得第二波疫情会爆发吗?一些国家的第二波疫情已经到来,中国仍然存在第二波疫情的可能!
一. 国内专家的看法。
不久前,钟南山院士参与“2020中关村论坛全球科学与生命健康论坛”时,这样预测国内的新冠肺炎疫情:今冬明春,新冠肺炎疫情可能会继续存在或发展。
(下图:钟南山院士)

近日,张文宏教授在上海交大组织的论坛上,针对大家关注的第二波疫情,则说:第二波新冠肺炎疫情是必然的。这里 “第二波疫情”,张文宏教授更多是指全球范围的疫情。
(下图:张文宏教授)

二. 一些国家已经出现了第二波疫情。
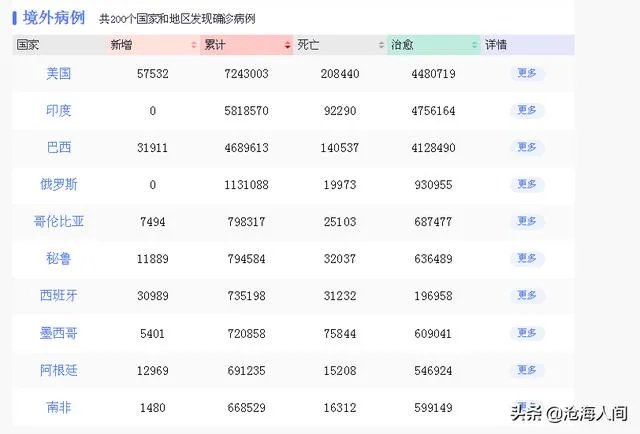
美国、印度、巴西等国的第一波疫情一直没有控制住,随着秋冬季节的到来,必然是“一波未平,一波又起”;西班牙、法国、英国、捷克、波兰、荷兰、加拿大等欧美国家,在过去一段时间,相继对外宣称:第二波疫情已经到来。
(下图:一些国家的最新疫情)

三. 中国仍然存在第二波疫情的可能
1.全球范围的第二波疫情,必然会冲击到我国国内。
国外疫情对国内疫情的影响,不仅表现在人的传播上,也表现在物的传播上。就最近的例子来说:青岛市的两名装卸工人,因为冷链运输感染新冠病毒,从而致使该市一定范围的人群隔离和观察。
(下图:青岛市)

2.我们需要继续加强疫情的防控力度。
受到国外疫情的包围,国内受到的疫情冲击和影响会不断加大,第二波疫情的风险也会随之增加。如何避免第二波疫情,或者减少可能第二波疫情的影响,也是我们国家从上到下在今年秋冬,乃至明春,要努力争取的。
结束语:戴好口罩,避免聚集,注意卫生,我们每个人还应继续做好疫情防范措施!
(下图:我们需要继续做好戴口罩出行)

我觉得天气变冷,就应该开始戴口罩了,一是可以预防感冒,二是预防传染疫情。
戴上口罩,既是防止别人传染自己,也是对别人的尊重。
众所周知,当第一波新冠病毒来势凶凶让人措手不及,权威机构专家认为,气候变化也许决定病毒存活时间长短。原以为会因天气严热病毒会自动消失,而事实是南亚的印度,南美的巴西感染人数不降反升,其实有的专家认为而天冷病毒存活时间更长,但从低温冷库中检测出呈阳性食品,佐证了新冠病毒并不会因为气候变化而消失。因为它来自于大自然,所以很可能会长期与人相生相伴!
其实、我国对待重特大突发公共卫生事件一贯都会以“人民至上”为工作出发点,利用社会主义制度优势,集中力量办大事,好在短短两个多月时间、英雄地武汉人民识大体、顾大局,敢于自我牺牲与八方援鄂军民同心协力、向死而生,成功控制住了疫情。取得了抗击新冠肺炎决定性的胜利。山河无恙,仅接着又重新调整策略,转入第二阶段“内防反弹、外防输入”地防控工作中。反观世界其他国家,尤其是欧美囯家还在第一波疫病中苦苦挣扎,束手无策。随着秋冬季节气温下降,出现反弹是大概律的事。
病毒无国界,既然病毒来源于大自然与人共生,在经济全球化的今天,任何国家都不可能单独应对挑战,任何人都不可能置身事外。更不能病毒“政治化,污名化”。决不能象驼鸟一样,把头埋在沙子里视而不见。要尊重世卫组织权威性,团结起来,夯实前期取得的成就,就一定能阻止第二波疫病发生!



导言
许多人都在担心今年是否会出现第二波的疫情高峰。事实上从全球角度来说,疫情的第二波已经发生,只是没有传导进中国而已。而且更加令人担心的是,有些国家甚至连第一波都没有还没有过去。当然目前消息交织,不准确的情况非常明显,所以担心爆发是正常的。

第二波疫情已经到来,而第一波还没有结束
从目前全球的疫情变化角度来说,第一波次的疫情正在结束,而第二波正在逐渐形成。而这一次似乎是从欧洲出现的。
这难免不让人起疑心,为什么会是欧洲?难道真的新冠病毒是从欧洲出现的吗?

9月25日,世卫组织举行新冠肺炎例行发布会。针对新冠病毒来自实验室的言论,世卫组织总干事谭德塞再次重申,世卫组织相信科学和证据,目前所有论文均显示新冠病毒来自自然界。对于实验室一说已经全面的否定,那么问题又来了病毒从哪里起源?真的会是中国吗
很显然中国是受外来影响才是。从目前的环境下,我们国家已经没有病毒继续生存的环境和传播条件这就意味着,病毒起源于中国是荒谬的。

好我们看看这第二波的疫情都已经影响哪些国家了
9月23日,加拿大宣布,正式进入第二波疫情。
欧洲的法国、西班牙、德国、英国、捷克等国都先后表示已经爆发第二波疫情了。
西班牙宣布从28日,西班牙军队和国家警察将在马德里大区加强部署以控制疫情蔓延,届时将有共计7500名军人增援。
英国首相约翰逊宣布了一系列新的限制措施,其中包括限制酒吧营业时间等,以期在控制第二波疫情扩散的同时,避免再次实施全国性封锁,从而对经济造成严重破坏。
为什么又是欧美国家
欧美国家前几个月的防疫措施在紧张和混乱中总算是度过了第一波。当经济需要回复的时候人员流动一增加那么整改情况就变了。理由很简单。在欧洲的人员大流动是必然造成疫情传播的可能。并且和美国、巴西 印度的交集非诚的深刻,当这些国家对于防疫措施松懈之后,一旦出现复苏的火苗就有可能将这个国家给炸碎。

第二波疫情较为严重的有法国、西班牙等国家。法国最近几天新确诊病例超过1万例。法国受影响最大的是旅游业,负责旅游事务的国务秘书勒莫因表示,法国国际旅游收入今年1-6月累计损失50%,达123亿欧元。马德里预计,西班牙2020年经济将萎缩9.2%,超过2008-2013年金融危机期间的降幅。意大利政府也预计,2020年经济料萎缩9%
当经济被疫情拖垮之后,就再也没有能力投入资源到医疗涉笔去了。这是欧洲的困惑,难道全世界就没有更好的办法了吗?

中国在防疫工作鹤立鸡群,不用太担心第二波疫情
当今日美国的当天确诊病例还在5万的时候我们已经在讨论如何每天增加的10个无症状感染者的紧急排查,你就会觉得到底哪个国家更爱自己的人民。
我们不怕第二波疫情的基本逻辑有三个
1.边境口的严格管理和入境飞机的检查成为了最好的防线可以阻挡尽可能多的病毒携带者回国传染,因为我们并没有群体免疫 。靠人防技术防来实现

2.疫苗将在11月正式发售。这是中国资产的疫苗价格比较贵。但老百姓自发的说,这么好的疫苗还是先留给一线工作人员和医护人员,保护他们就是保护我们自己
3.国人的行动一致性。我从来没有见过哪个国家和我们一样的听话,封闭就封闭,关门就关门多么听从指挥。这样的行动力绝对是正确
以上三个方面决定了今年下半年的疫情反弹和我们关系不大。我们要做的就是继续坚持下去,等待疫苗的全面上市和新的辅助治疗设备的更新。但是这些都要钱都要时间请在等待一下。
结论
第二波疫情确实已经发生,但是只要我们做好个人的防护、边境的管控疫苗的研发和销售,我想是可以安全的度过这一波的冲击的。
你们有信心吗?反正我有。
虽然中国结束了第一波疫情,但是第二波疫情爆发是必然的,只是时间上不能确定。在前不久,钟南山院士在2020年中关村论坛全球科学与生命健康论坛”时表示过,国内的疫情在今年的冬天和明年的春天都存在爆发的可能。

张文宏在在上海交大组织的论坛上对于大家都关注的疫情也发表的见解,国内第二波疫情发生是必然的,但是国外的会比较严重。言外之意是要我们做好境外病毒输入的防护,因为我国即使发生二次爆发也只是小范围的爆发。
目前为止,在全球上美国、巴西、印度、俄罗斯等国家第一波疫情都还没有结束。眼看第二波疫情就要来临,处境实在是危险。特别是美国,疫情感染的数据稳居世界第一,总统特朗普又没有作为,长久下去美国必然凶多吉少。

为什么说天气越来越冷,第二波疫情爆发的可能性越来越大。
由于疫情的可怕,在炎热的夏季也不能杀死病毒,反而让病毒扩散开来。如今天气越来越冷,温度越来越低,气候也越来越潮湿。而新冠病毒又是喜欢阴暗潮湿的环境,温度越低她们越活跃,所以在冬季病毒会更加严重。
加上在冬季的时候,又是流感高发的季节,一旦染上流感抵抗力下降很容易就被新冠肺炎感染。而且流感和新冠肺炎一样,都是可以通过人传人,一旦感人传播的速度根本无法想象。

如何防疫?
01、不要在人流量大的地方逗留,不要随意外出,去别的城市。特殊时期,千万不要出国。也不要聚集在一起吃喝玩乐,这样很容易增加感染的风险。
02、出门必须要佩戴口罩,注意个人卫生,每天请洗手,做好消毒工作。

结束语:面对疫情的二次爆发,不要慌张,也不要害怕。在第一波的时候我们能够解决,有了丰富的经验和手段,所以第二波就算爆发,我们也可以摆平它。
戴习惯了竟然觉得还挺好用,热天防晒,冷天防风。电视里黑衣人口鼻一蒙谁都认不出,现实中却丝毫不防碍熟人互相打招呼,有时不想打招呼的就假装没认出😂。出门逛街也挺好,逛衣服还防尘,不耐烦也不会不好意思表现出来,反正口罩一戴,谁都不爱🤪😬



